Skip to content

The 2026 Sidecar Rally registration is now open! Click here: USCA 2026 Rally Registration Form

 

Changing out trippl...
 
Notifications
Clear all

Changing out tripple trees ??

28 Posts
6 Users
0 Reactions
1,386 Views
(@Anonymous)
Posts: 0
 

I am running a HD Ultra with HD sidecar, 2003 model. I am seriously considering raking the front end with the tripple trees to improve the steering ease. Can those that have done this comment please.
I am wondering, will the HD Triglide trees fit my 03 with no issues? Is it direct bolt on deal? Do I then need to get extended forks once I do this? Is there a better option to consider?
Again, those that have done this or something similar, I would like to hear your comments and do's and dont's based on your experience. If you have done it would you do anything differently?
Thanks much for the help.


 
Posted : July 17, 2013 7:00 am
(@oldriders)
Posts: 29
Eminent Member
 

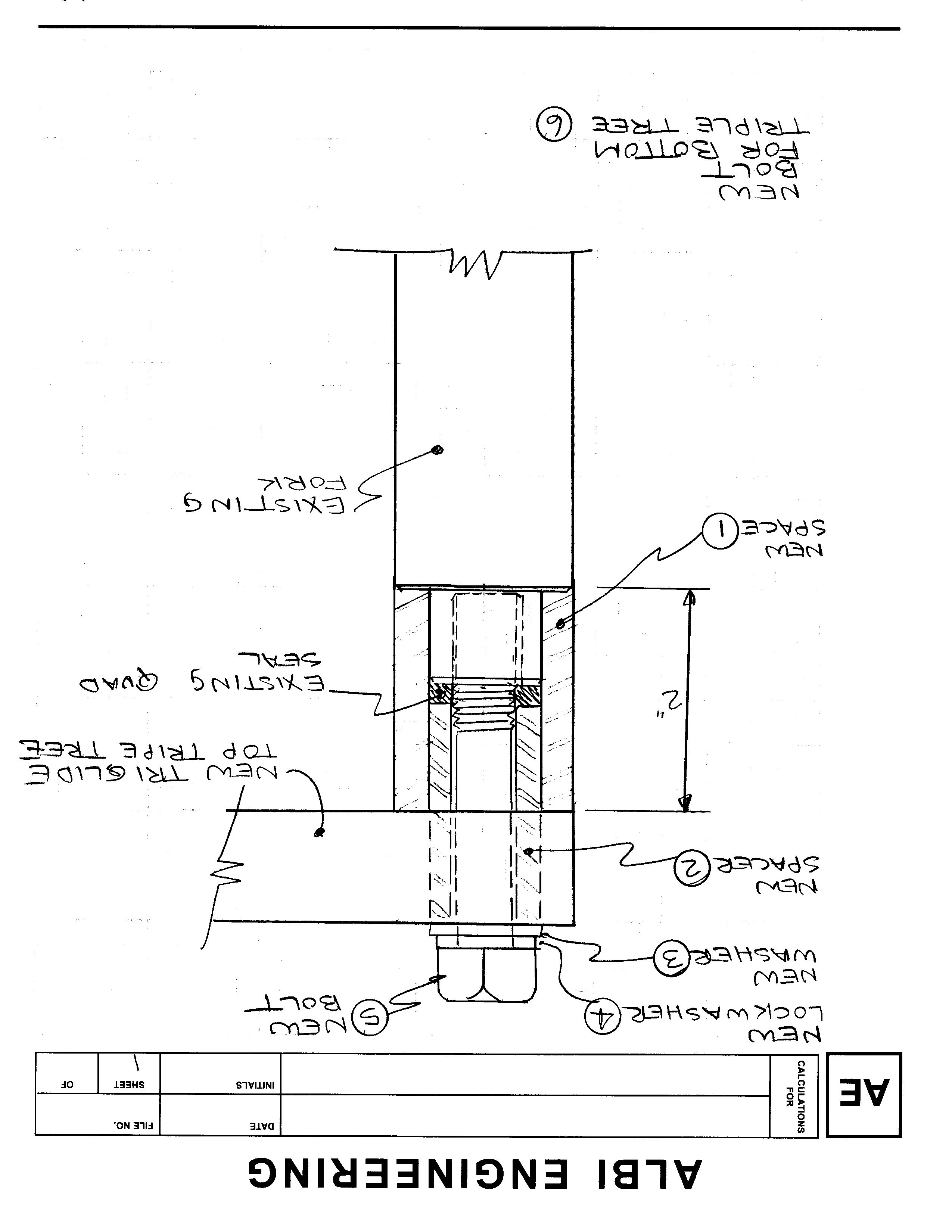
I have a 03 ElectraGlide Classic and have installed the TriGlide triple trees with a fork extension of 2" done with spacers.
It makes the handleing a lot easier.
If you have a HD shop manual and tools it"s not too hard.
See atttached part numbers and sketches.


 
Posted : July 17, 2013 12:06 pm
(@oldriders)
Posts: 29
Eminent Member
 

here are the attachments

Attached files


 
Posted : July 17, 2013 12:10 pm
(@Markh00)
Posts: 92
Estimable Member
 

I am 61 years old and I installed a set of Tri-Glide trees. I was a mechanic when much younger and have always stayed in the industry in one way or the other, plus I still have all my tools. It wasn't fun, but I did it over the winter and spread it over a couple of weekends. I bought my parts from the dealer listed on the sheets shown above. As you can see, the price was right. I did mine without the spacers after I saw other posts by people that had done the swap the same way. That dropped the front of the bike and inch, or slightly more. To compensate, I lowered the back to match. I will say I plan now to add the spacers this winter because of the loss of ground clearance. When completed I was surprised at the change. I have read some posts saying the Tri-Glide trees don't reduce the trail enough. I find the steering now takes no effort at all.

One additional part I had to change was the front one piece brake line. I found the original would not fit the new trees. I bought a three-piece braided line set for my model where the handle bars where raised 6 inches. That allowed plenty of slack to route the line from the master cylinder to the tee attached to the lower tree.

Just an after thought. I found the factory Service manual was not a lot of help doing this because it wasn't really covered in the 05 Touring manual (I have an 2005 ElectraGlide). What I found to be of great value was my 2005 Factory Parts manual with the exploded views. The only real problem I ran into was the two large sockets required to remove the fork stem nut and the upper fork bolts. I found both at a Farm & Fleet store for less that $15 each.


 
Posted : July 17, 2013 2:47 pm
 46u
(@46u)
Posts: 757
Prominent Member
 

I have been thinking about doing the same thing and I know where to get a very nice set of trees that come with the spacers for under $800. Problem with 02-05 is mine is a 02 the left tube has the cartridge set up on the fairing bikes so to do this on those models you will have to do more work as this side the set up screws into the top cap.

This is one of the best front ends ever made but is more of a pain to change the oil and put a raked tree with spacers in. You will all so have to change the left tube set up and do not just go to what the right one is or the ones on none fairing models as you will not have as good of damping. You will have to change both sides to the later style. All you should have to do is change the guts on both sides and go to the later valve type. Not a bad front end but by not as good as the cartridge front end.


 
Posted : July 17, 2013 5:29 pm
(@eddpac)
Posts: 14
Active Member
 

Oldriders, do you have any idea how far back you could go with those triple tree numbers? I have an 01 and was just wondering, anyway thanks for the info. Ed


 
Posted : July 17, 2013 5:33 pm
 46u
(@46u)
Posts: 757
Prominent Member
 

eddpac - 7/17/2013 11:33 PM

Oldriders, do you have any idea how far back you could go with those triple tree numbers? I have an 01 and was just wondering, anyway thanks for the info. Ed

The tress kit I am talking about fits 1996 and up bikes but on the 02-05 fairing models you will have to make other changes to the inner guts of the tubes and use the 06-07 inner guts. Here is the manufacturers web site but I can give a link where you can get them for around $700 and this comes with the spacers. Now keep in mind on the later models tire size will affect the trail.
http://hawghalters.com/Triple-Trees/Trike-Triple-Trees/FL-Trike-Triple-Trees/prod_451.html


 
Posted : July 17, 2013 5:49 pm
(@Markh00)
Posts: 92
Estimable Member
 

I don't understand what the fork internals have to do with the trees. Am I missing something? My 05 has different internals for the right and left fork legs, but they both slip into the trees and are bolted in the same way. Are you referring to something specific to earlier years, or does this have to do with the spacers that come with those particular trees?
I just used your link to look at the web site. Their spacers screw into the fork tubes? Why?


 
Posted : July 18, 2013 12:38 am
 46u
(@46u)
Posts: 757
Prominent Member
 

Markh00 - 7/18/2013 6:38 AM

I don't understand what the fork internals have to do with the trees. Am I missing something? My 05 has different internals for the right and left fork legs, but they both slip into the trees and are bolted in the same way. Are you referring to something specific to earlier years, or does this have to do with the spacers that come with those particular trees?
I just used your link to look at the web site. Their spacers screw into the fork tubes? Why?

Yes the left and right are different on 02-05 and if you look in a manual you will see the left with the Harley calls it a damper the fork cap screws on to the rod with the damper. Now if you take the cap off to put the spacers in there is nothing to hold the rod for the damper. No trying to be rude but I have change the oil in mine in the past 93,000 miles at least 4 times not counting the ones I have done for others. I do all my own work including machine work not only on mine but also for others. Look in a manual and you will see what I am talking about. I assure you on 02-05 you will have to make internal changes UNLESS the spacers for the rake tree are solid and have previsions for the rod to the damper on the left side. I do not have time to post a picture right now as I am getting ready to drive my only transportation my rig 60 miles to my youngest daughters wedding. But if you remind me I will later.

This is only on models with a fairing.


 
Posted : July 18, 2013 3:24 am
(@Anonymous)
Posts: 0
 

oldriders - 7/17/2013 5:06 PM

I have a 03 ElectraGlide Classic and have installed the TriGlide triple trees with a fork extension of 2" done with spacers.
It makes the handleing a lot easier.
If you have a HD shop manual and tools it"s not too hard.
See atttached part numbers and sketches.

What is the total $ amount you out laid to do this and do you (or anyone else) know what the increase in rake is with the triglide tripple trees over stock (+5 ?).?
Thank in advance for the replies.


 
Posted : July 18, 2013 5:59 am
(@Markh00)
Posts: 92
Estimable Member
 

46u - 7/18/2013 7:24 AM

Markh00 - 7/18/2013 6:38 AM

Their spacers screw into the fork tubes? Why?

Yes the left and right are different on 02-05 and if you look in a manual you will see the left with the Harley calls it a damper the fork cap screws on to the rod with the damper. Now if you take the cap off to put the spacers in there is nothing to hold the rod for the damper. No trying to be rude but I have change the oil in mine in the past 93,000 miles at least 4 times not counting the ones I have done for others. I do all my own work including machine work not only on mine but also for others. Look in a manual and you will see what I am talking about. I assure you on 02-05 you will have to make internal changes UNLESS the spacers for the rake tree are solid and have previsions for the rod to the damper on the left side. I do not have time to post a picture right now as I am getting ready to drive my only transportation my rig 60 miles to my youngest daughters wedding. But if you remind me I will later.

This is only on models with a fairing.

I known the damper parts are different on the right and left fork. For $800 they could at least design the trees so the fork just slips into the spacer and then the spacer slips into the tree like on a stock part. Check out the drawings above.


 
Posted : July 18, 2013 2:42 pm
(@Markh00)
Posts: 92
Estimable Member
 

freaky - 7/18/2013 9:59 AM

oldriders - 7/17/2013 5:06 PM

I have a 03 ElectraGlide Classic and have installed the TriGlide triple trees with a fork extension of 2" done with spacers.
It makes the handleing a lot easier.
If you have a HD shop manual and tools it"s not too hard.
See atttached part numbers and sketches.

What is the total $ amount you out laid to do this and do you (or anyone else) know what the increase in rake is with the triglide tripple trees over stock (+5 ?).?
Thank in advance for the replies.

I paid the prices shown above in the art work posted up above plus a three piece front brake line kit from J&P cycle. The line added about $150.
The Harley web site posts the trail (what affects the effort to steer) for both the ElectraGlide classic and the TriGlide. Look under specs for the individual models. That shows you what reduction you'll achieve with their parts. The aftermarket talks about degrees of rake not trail reduction so I don't know what you get there.


 
Posted : July 18, 2013 2:56 pm
 46u
(@46u)
Posts: 757
Prominent Member
 

Markh00 - 7/18/2013 8:42 PM

46u - 7/18/2013 7:24 AM

Markh00 - 7/18/2013 6:38 AM

Their spacers screw into the fork tubes? Why?

Yes the left and right are different on 02-05 and if you look in a manual you will see the left with the Harley calls it a damper the fork cap screws on to the rod with the damper. Now if you take the cap off to put the spacers in there is nothing to hold the rod for the damper. No trying to be rude but I have change the oil in mine in the past 93,000 miles at least 4 times not counting the ones I have done for others. I do all my own work including machine work not only on mine but also for others. Look in a manual and you will see what I am talking about. I assure you on 02-05 you will have to make internal changes UNLESS the spacers for the rake tree are solid and have previsions for the rod to the damper on the left side. I do not have time to post a picture right now as I am getting ready to drive my only transportation my rig 60 miles to my youngest daughters wedding. But if you remind me I will later.

This is only on models with a fairing.

I known the damper parts are different on the right and left fork. For $800 they could at least design the trees so the fork just slips into the spacer and then the spacer slips into the tree like on a stock part. Check out the drawings above.

Look and see what others get for three kits a lot more then the ones I posted. I do not think any of them make them for the 02-05 for the faring mounted bikes.
This is just one place but most are over a grand.
http://www.championsidecars.com/products.asp?scPage=3&catID=6&itemID=346


 
Posted : July 18, 2013 3:43 pm
(@Markh00)
Posts: 92
Estimable Member
 

I'm to close to retirement to spend $1000 when I can get the same for less than $500 from the manufacturer of the motorcycle, plus I get steel instead of aluminum.


 
Posted : July 18, 2013 4:11 pm
 46u
(@46u)
Posts: 757
Prominent Member
 

Markh00 - 7/18/2013 10:11 PM

I'm to close to retirement to spend $1000 when I can get the same for less than $500 from the manufacturer of the motorcycle, plus I get steel instead of aluminum.

You better check the prices before you buy as those prices are WAY old. HD parts go up daily. I bet if you get it all you will be around the first link I posted which you can get those tree kits four around $730 at the right place.

UP date the retail for the top bottom trees and skirt is $499.97. At places like Lake Shore you can save some. Let us know how it turns out and what your bottom line is.


 
Posted : July 18, 2013 4:45 pm
Page 1 / 2